Home, zpět na úvodní stránku...   | O firmě | Stroje a příslušenství | E-shop | Bazar a půjčovna | Kontakt |

 


Home, zpět na hlavní stránku ...
IGLAND 6002 Pronto
Tento stroj opravujeme a dodáváme náhradní díly. Tento stroj je možné koupit jako nový.

Popis a určení

Profesionální robusní naviják s tažnou silou 6t na každém bubnu pro náročné podmínky velkých těžebních zásahů. Oba bubny jsou osazeny kotoučovou spojkou a svým velkým průměrem snižují pokles tažné síly při velké délce lana. Dvoububnový naviják je určený pro pevnou montáž na traktor o výkonu 52 - 88 kW (70 - 120 PS). Vysokotlaké elektrohydraulické ovládání s vlastním hydraulickým okruhem zlepšuje uživatelský komfort, snižuje možnost znečištění oleje v okruhu i životního prostředí.

Naviják je poháněn speciálním řetězem z řetězky vývodového hřídele traktoru a šnekovým převodem v olejové lázni je síla roznášena přímo na oba bubny s jednokotoučovou lamelovou spojkou a pásovou brzdou. Standardně je montováno vysokotlaké elektrohydraulické ovládání všech funkcí s vlastním, na traktoru nezávislým hydraulickým okruhem. Hydraulický okruh má vlastní olejovou nádrž a čerpadlo, čímž se snižuje možnost znečištění oleje při propojování hydraulických hadic a omezuje se znečišťování životního prostředí. Naviják je připraven pro snadné zapojení dálkového šestikanálového ovládání rádiem. Všechny navijáky jsou vyrobeny ze speciálního materiálu RAEX - Multistahl a odpovídají evropským předpisům EG, podle kterých je přidělováno označení CE.

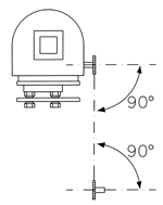
Naviják je možné montovat i na 3-bodový závěs traktoru


Doporučené vybavení Závislost délky lana na tažné síle.
- 2x lano minimálně 6 x 26 WS, IWRC 180 kp
- řetězka vpředu pro bližší montáž navijáku ke kabině
- 6 ks úvazku 8 x 8 mm / 2 m s kluznou sponou
- dvojité vodící kladky lana do štítu nástavby
- kontrolní manometr ELH ovládání
- dálkové ovládání rádiem šestikanálové
- dálkové ovládání otáček motoru traktoru

Základní parametry


Technické parametry:

Maximální tažná síla při prázdném bubnu 6 t / 60 kN
při plném bubnu 3,2 t / 32,4 kN (podle ISO 6687)
Požadovaný výkon traktoru 52 - 88 kw / 70 - 120 PS
Počet bubnů 2
Teoretická kapacita bubnu (ocelové lano) 97 m / 12 mm, 80 m / 13 mm (podle ISO 6687)
Doporučená délka / průměr lana 2 x 50 m / 12 mm
Rychlost navíjení při 540 ot./min 0,60 - 1,11 m/s (podle ISO 6687)
Vnitřní převod 1 : 9,7
Bzdná síla 7,5 t / 75 kN
Standartní ovládání elektrohydraulické
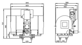
Rozměry navijáku výška 76 cm
šířka 85 cm
hloubka 58 cm
Hmotnost bez lana 358 kg

Kliknutím obrázek zvětšíte Nákres Igland 6002 Pronto Nákres Igland 6002 Pronto montáž Nákres Igland 6002 Pronto montáž

Kliknutím obrázek zvětšíte


Přehled a technické parametry všech navijáků

Nahoru