Home, zpět na úvodní stránku...   | O firmě | Stroje a příslušenství | E-shop | Bazar a půjčovna | Kontakt |

 


Home, zpět na hlavní stránku ...
Vyvážecí přívěsy
320 - 8t, 450 Swingtrac - 8,5t, 480 Swingtrac - 9,5t a 490 Swingtrac - 10,5t
Tento stroj opravujeme a dodáváme náhradní díly. Tento stroj je možné koupit jako nový.

Popis a určení

Vyvážecí přívěsy vybavené hydraulickou rukou tvoří spolu s traktorem optimalní vyvážecí soupravu pro dříví do těžkého terénu.

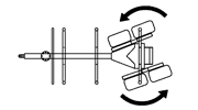
Swingtrac - je kombinace západkové brzdy a řízení, jež mohou být činné současně. Prostřednictvím swingtrac systému jsou pomocí západky levá a pravá kola střídavě ovládány. Přívěs se pohybuje jako ještěrka a tím i napomáhá traktoru při řízení. Toto je ideální v těžkém terénu. Systém je patentován.

Velký rejd - nápravový agregát je prostřednictvím dvou hydraulických pístů natáčen na otočné ose, tím je dosaženo jedinečných manévrovacích schopností v těžkém terénu.
Výborné jízdní vlastnosti - optimálním přenosem tíhy na traktor.
Vysoká stabilita - nízké těžiště a rozchod kol dodávají velmi vysokou stabilitu.
Hydraulické opěry - stabilní pozice při nakládání.
Výhody:
· solidní konstrukce
· přestavitelné klanice, ochranná mříž a hydraulická ruka
· optimální využití hydrauliky traktoru
· vysoká Iožná kapacita
· hydraulické opěry
· velká kola - nízký tlak na půdu

Přívěs 320 - není vybaven systémem Swingtrac.

Základní parametry

Typ přívěsu Igland 320 Igland 450 Swingtrac Igland 480 Swingtrac Igland 490 Swingtrac
Délka / šířka 5,32 m / 2,08 m 6,42 m / 2,20 m 6,42 m / 2,20 m 6,42 m / 2,35 m
Tlak oleje max. / min. 210 bar / 160 bar
Kola 400–15,5" ,14 19/45–17", 14
Otočný úhel 20° 50°
Otočný moment (při 210 bar) ca 4,0 to m/dakNm
Hmotnost přívěsu (kg) 990 1545 1645 1775
Nosnost bez ruky (kg) 8000 8500 9500 10500
Délka ložné plochy 3,5 m 4,6 m 4,5 m
Brzdy bubnové na 2 kola kotoučové na 2 kola
Průchodnost 52 cm
Standartní počet klanic 2 páry
Základní výbava přívěsu - Hydr.ruka s rotátorem a drapákem
- rám přívěsu s uchycením náprav
- dvě boogie nápravy
- dva páry nastavitelých klanic
- konzole uchycení hydr. ruky
- ochranná mříž za HR
- dvě sklopmé opěry pod HR
- hydraulické řízení oje
- bubnové brzdy na dvě kola
- Hydr.ruka s rotátorem a drapákem
- rám přívěsu s uchycením náprav
- dvě boogie nápravy
- dva páry nastavitelých klanic
- konzole uchycení hydr. ruky
- ochranná mříž za HR
- dvě sklopmé opěry pod HR
- swingtrac systém řízení náprav
- kotoučové brzdy na dvě kola
- ráčnové západky kol zadní nápravy
- Hydr.ruka s rotátorem a drapákem
- rám přívěsu s uchycením náprav
- dvě boogie nápravy
- dva páry nastavitelých klanic
- konzole uchycení hydr. ruky
- ochranná mříž za HR
- dvě sklopmé opěry pod HR
- swingtrac systém řízení náprav
- kotoučové brzdy na dvě kola
- ráčnové západky kol zadní nápravy
- Hydr.ruka s rotátorem a drapákem
- rám přívěsu s uchycením náprav
- dvě boogie nápravy
- dva páry nastavitelých klanic
- konzole uchycení hydr. ruky
- ochranná mříž za HR
- dvě sklopmé opěry pod HR
- swingtrac systém řízení náprav
- kotoučové brzdy na dvě kola
- ráčnové západky kol zadní nápravy


Hydraulické natáčení nápravy. Vysoká manévrovací schopnost - kola mohou být pomocí hydraulických válců natáčena. To umožňuje řidiči s vozem i v problémovém porostu snadno manévrovat. Přenášení těžiště - velká vzdálenost dvojité nápravy a ochranné sítě s možností posunu po páteři vozu umožňuje lepší rozložení váhy na traktor a vůz, a tím též optimálnější manévrovací schopnosti. Swing-systém - salamandrový chod umožněný systémem rohatky na zadních kolech. Tento systém je patentován a spolu s hydraulickým zatáčením zadních náprav je vynikajícím moderním technickým řešením. Nízké těžiště umožňuje dobrou stabilitu traktoru s přívěsem i na svahu.
 
Natáčení hydraulického válce umožňuje snazší couvání a zpětné zajíždění do porostu. Možnost rozložení tlaku na půdu natočením kol nápravy vozu. Osa náprav je vychýlena vpravo nebo vlevo od traktoru. Brzdy - brzdový systém nacházející se na zadním páru kol - zajišťuje větší jistotu při brždění traktoru s naloženým vozem.

Kliknutím obrázek zvětšíte Kliknutím obrázek zvětšíte

Nahoru